Exfecator

Die Meinungsäußerungen auf dieser Website dienen der Information und sind keine Aufforderung zur Nachbildung der dargestellten Dinge und Handlungen, auch nicht stillschweigend.
Die Herleitung einer Vertrags- oder Haftungs-Beziehung zwischen dem Betreiber und dem Betrachter dieser Website ist ausgeschlossen.
Der Exfecator ist zum Patent angemeldet und kann zur Zeit nicht käuflich erworben werden.
Der Exfecator ist so nützlich und problemlos, dass er produziert und damit vielen leidenden Menschen zugänglich gemacht werden sollte.
Schreiben Sie bitte eine kurze Email an ex@roethlin.com (Impressum) ,
wenn Sie den Exfecator fertigen wollen,
wenn Sie Material- oder Dienstleistung beitragen wollen,
wenn Sie ähnliche oder bessere Geräte kennen,
wenn Sie besonders gute oder schlechte Erfahrung mit der operativen Sanierung Ihres Kontinenzorgans haben,
wenn Sie den Exfecator kaufen würden, falls er verfügbar wäre,
wenn Sie Lob oder Kritik loswerden wollen.
Persönliche Daten werden vertraulich behandelt.

Die Probleme mit dem Stuhlgang,    mit der Kot-Entfernung aus dem Mastdarm,  
mit Hämorrhoiden-Leiden,                 mit Anal-Fissuren:
Über dreißig Prozent der Menschen in Deutschland leiden unter Obstipation (Verstopfung),
die verursacht sein kann durch den aufrechten Gang, fortgeschrittenes Lebensalter, Bewegungsmangel, genetische Veranlagung, Krankheiten, falsche Ernährung, Infektionen oder psychische Probleme.
Harte Kotballen schädigen das Kontinenzorgan (Anus und die angrenzenden zwanzig Zentimeter nach innen) auf folgende Weise:  Das Rectum (Mastdarm) kann den Durchmesser harter Kotballen nicht reduzieren, erschlafft und weitet sich.
Bei jeder Defäkation (Kot-Ausscheidung) harter und grosser Kotballen von beispielsweise fünf Zentimeter Durchmesser kommt es zur Überdehnung und Schädigung des Analkanals, der beim Erwachsenen durch den anorektalen Muskelring für Kotballen von etwa drei Zentimeter Durchmesser ausgelegt ist.
Können die Kotballen nicht dauerhaft weicher, formbarer und damit dünner gemacht werden durch Bewegung (Sport) oder durch vermehrte Zufuhr von Flüssigkeit, Ballaststoffen oder generell mehr Nahrung, um die Transitgeschwindigkeit der Nahrung durch den Magen-Darm-Trakt zu beschleunigen, kommt es zur fortschreitenden Schädigung der für die Fein-Kontinenz wichtigen Hämorrhoidalpolster in Form von Knotenbildung, Thrombosen, offenen Blutungen,  Entzündungen oder Narbenbildung.
Bei der Defäkation harter und grosser Kotballen werden die durch die Vorschäden irgendwann drittgradig vergrößerten Hämorrhoidalpolster vom Kot durch den anorektalen Muskelring nach aussen gepresst (Analprolaps), was eine gewaltsame und schmerzhafte Ablösung der Mastdarm-Schleimhaut von der Mastdarm-Muskulatur und als Folge davon Anal-Fissuren (Riss der Anal-Haut) verursachen kann.
Entgegen der weit verbreiteten Darstellung, dass die starken Schmerzen bei und nach der Defäkation von der Analfissur ausgelöst werden, wird hier die These aufgestellt, dass die Schmerzen eine Folge der gewaltsamen Verschiebung der Mastdarm-Schleimhaut von beispielsweise acht Zentimeter in Längsrichtung des Analkanals und damit eines grossflächigen anti-radialen Schleimhaut-Abrisses sind, wobei eine etwa Handteller-grosse innere Wunde im Bindegewebe zwischen Mastdarm-Muskulatur und Schleimhaut entsteht.
Die Analfissur, also der Längsriss der Schleimhaut, ist der Beweis für eine Schleimhaut-Ablösung und zeigt sich meist an der Stelle des stabilsten Verbindungspunktes zwischen Schleimhaut und Muskulatur, also in Richtung Steissbein (bei 6 Uhr), hinten (bzw. oben bei Annahme einer ehemals vierbeinigen Fortbewegungsweise).
Die Analfissur schmerzt im Gegensatz zur Schleimhaut-Ablösung nur wenig (ohne Entzündung).
Entgegen der weit verbreiteten Meinung, dass Analfissuren, die nach zwei Wochen noch nicht verheilt sind, chronisch geworden sind und operativ saniert werden müssen, wird hier die These aufgestellt, dass Analfissuren innerhalb von etwa zwei Monaten vollständig ausheilen, wenn der verursachende Schleimhaut-Abriss vermieden wird.

Selbst wenn der Analprolaps (Vorfall) bei drittgradig vergrößerten Hämorrhoidalpolstern noch reponiert (manuell zurückgeschoben) werden kann unter Zuhilfenahme eines Gleitmittels auf einem Stück Toilettenpapier, wird sich das Bindegewebe der abgelösten Schleimhaut zwischen den Defäkationen nicht ausreichend regenerieren.
Damit die reponierte, aber instabile und evtl. mit Gleitmittel kontaminierte Schleimhaut nicht sofort wieder schwerkraftbedingt prolabiert, kann man sich eine Viertelstunde auf ein zusammengeknülltes Paar Socken setzen und vor körperlicher Anstrengung die willkürliche anorektale Muskulatur anspannen.

Die von der Pharma-Industrie zwecks örtlicher Therapie des Kontinenzorgans angebotenen Cremes und Zäpfchen enthalten meist Lidocain zur Schmerzbetäubung und Lösung des schmerzbedingten Schliessmuskelkrampfes,  Titandioxid zur Desinfektion und Trocknung, Nifedipin zur Durchblutungsförderung,  Bismutgallat zur Hautstraffung sowie Bufexamac zur Entzündungshemmung und sind bei kurzfristiger Anwendung (zwei Wochen) oft hilfreich,  lösen aber die Probleme der Obstipation, des schlaffen Mastdarmes und des Analprolapses mit Schleimhaut-Ablösung nicht. 

Die Evolution hat nicht ein Gas-und Keim-dichtes Kontinenzorgan geschaffen, damit sein Besitzer es (evtl. jahrelang) mit kostspieligen chemischen Keulen kontaminiert.
Es besteht die Gefahr von Nebenwirkungen  auch in Nachbarorganen (Blase, Prostata, Gebärmutter, Haut, Nerven), da sich die Chemikalien im Körper verteilen.
 
Wird der Analprolaps nicht reponiert, spart sich der Defäkations-behinderte Mensch zwar die Schmerzen der regelmässigen Schleimhaut-Ablösung, aber die prolabierte Schleimhaut wächst aussen an falscher Stelle fest (Hämorrhoiden vierten Grades), bietet eine gefährliche Angriffsfläche für Verletzungen (Insektenstiche) und Infektionen, behindert das Sitzen und Gehen, und kann nur noch operativ saniert werden.
Standard-Therapie-Vorschlag der Proktologen (Enddarm-Fachärzte) bei drittgradig vergrößertem Hämorrhoidalplexus ist die operative Sanierung mittels Stapler-Hämorrhiodopexie oder Läppchenplastik verbunden mit einem stationären Krankenhausaufenthalt. Die operative Sanierung kann erschwert sein durch die geschädigte Mastdarm-Schleimhaut oder durch vorhandene Entzündungen und wäre leichter und risikoärmer, wenn es einen Apparat gäbe, der eine Defäkation ohne Analprolaps ermöglichen würde.
Die operative Sanierung des Kontinenzorgans beseitigt nicht die Obstipation, also die Ursache der Gewebeschäden.

Bei Menschen, die beispielsweise unter der sogenannten Slow-Transit-Obstipation leiden, kann trotz operativer Sanierung des Kontinenzorgans und operativer Dickdarm-Verkürzung das Leiden durch die Obstipation nicht immer beseitigt werden, was möglicherweise einen künstlichen Darmausgang nötig macht.

Auch für viele Menschen mit Querschnittslähmung wäre ein Apparat zum Entfernen von Kot aus dem Rectum wünschenswert, um die Nachteile stundenlanger WC-Aufenthalte, unkontrollierten Kot-Abganges oder des digitalen Ausräumens (manuelle Kot-Entfernung) zu vermeiden.

Hier sei die These aufgestellt, dass die Ursache für viele Fälle von Übergewicht, Mangelernährung und agressivem Verhalten in einem geschädigten Kontinenzorgan zu suchen ist. Der Übergewichtige isst viel, um seinen Kot durch die höhere Transitgeschwindigkeit der Nahrung durch den Darm weicher zu machen. Der angeblich Magersüchtige isst wenig, um die Häufigkeit der schmerzhaften Defäkationen zu verringern.
Der Agressive leidet unter Schmerzen und hat Angst vor der nächsten Defäkation.
Das Arschloch ist der Boss!
Ihr kompaktes Hochleistungskontinenzorgan ist Ihr Freund, der aber nichts dafür kann, wenn Sie den
von der Evolution vorgesehenen Vierfüssler-Gang verlassen, Ihre Produktlebensdauer erheblich überschreiten, sich undiszipliniert mit schlechter Nahrung und Drogen vollstopfen, sich kaum bewegen und von Ihrer Umgebung gestresst werden.


Für fast alle Bereiche des täglichen Lebens sind technische Hilfsmittel verfügbar:
Haus für Wohnen,  Heizung für Nicht-Frieren,  Auto für Bewegen,  Brille für Gucken,  Besteck für Essen,  Computer für Denken,   Fernseher für Glauben,   Sportgeräte für Bewegung,  ...... und Kacken ...... wie
in der Steinzeit, denn die im Mittelalter erfundene  WC-Schüssel dient nur dem Abtransport der Fäkalien.


Die bisher entwickelten Defäkationshilfsmittel sind eher unvollkommen:
Bei der Colon-Hydro-Therapie (Darmspülung), wird beispielsweise ein Zwillingsrohr in das Rectum eingeführt, und bei verschlossenem Ablaufrohr wird durch ein Einlaufrohr literweise Spülflüssigkeit unter geringem Druck in den Darm geleitet. Nach einer Einwirkzeit lässt man die Spülflüssigkeit durch das Ablaufrohr auslaufen, wobei der Kot nur angelöst aber nicht mechanisch zerkleinert wird. Bei einer Obstipation ist die Darmspülung unbrauchbar, weil harte und grosse Kotballen die Ablauföffnung
blockieren oder die Einwirkzeit der Spülflüssigkeit im Stundenbereich anzusiedeln wäre.


Bei anderen Spülvorrichtungen können nach Einführung eines Strahlrohres in das Rectum
Wasserstrahlen in verschiedene Richtungen ohne visuelle Kontrolle verspritzt werden, was
bei hohem Druck die Darmwand perforieren kann.

Die Defäkation führt zum Analprolaps, denn es fehlt ein Darmrohr zum Ablauf.

Bekannt ist auch die Entfernung von Kot aus dem Darm mittels eines Endoskopes.
Die Nachteile dieser Lösung sind die hohen Kosten für Endoskop, Halterung, Lichtquelle, Kamera, Monitor, Strahlpumpe und Absaugpumpe, sowie die komplizierte Reinigung nach Gebrauch und der enorme Zeitaufwand, um zum Beispiel einhundert Gramm Kot zu zerkleinern und durch den Endoskop-Arbeitskanal mit drei Millimeter Durchmesser abzusaugen.

Es wird höchste Zeit für den Exfecator (Kot-Entferner) !

Die Aufgabe des Exfecators ist die schnellen Entfernung von Kot jeder Konsistenz, auch harter und grosser Kotballen, aus dem Rectum, wobei der Kot im Rectum zerkleinert und das möglicherweise durch Schleimhaut-Ablösung, durch drittgradig vergrösserte Hämorrhoidalpolster, durch Anal-Fissuren, durch Narben oder durch Entzündungen vorgeschädigte Gewebe des Kontinenzorgans geschont und ein Analprolaps vermieden wird.
Eine einzelne Person kann den Exfecator in einem üblichen WC-Raum bedienen.
Messer und Gabel sind das Besteck, um die Nahrung zu zerkleinern und in den Mund zu transportieren;
der Exfecator ist das Besteck, um Kot zu zerkleinern und aus dem Mastdarm zu transportieren.

Fig. 1 zeigt einen Querschnitt des Rectums mit dem arbeitenden Exfecator, wobei durch die Darstellung von zwei Strahlrohren 20 und zwei Wasserstrahlen 25  die Bewegung derselben angedeutet werden soll.
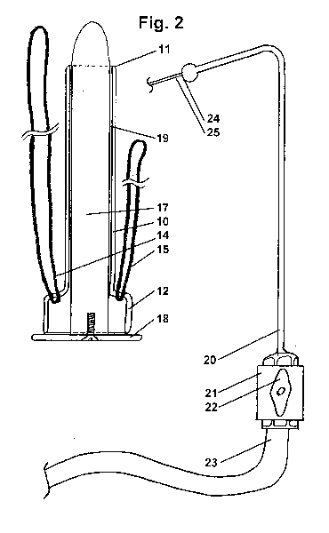
Fig. 2 zeigt die zwei wichtigsten Komponenten des Exfecators.
Fig. 3 und Fig.4  zeigen in Querschnittsdarstellung eine Person bei Bedienung des Exfecators.

ExfecatorFig.1ExfecatorFig.2

ExfecatorFig.3

ExfecatorFig.4

Eine mögliche Ausführungsform des Exfecators erfordert als Arbeitsumgebung einen üblichen WC-Raum mit WC-Schüssel, mit Handwaschbecken und mit zusätzlichem Wasserauslaufventil, vorzugsweise einer thermostatisch-geregelten Duscharmatur, und einen halb mit Wasser gefüllten Zehn-Liter-Eimer (29 in Fig. 3) auf einem Tisch oder Stuhl 30.
Beispielhaft kommen als Exfecator-Komponenten ein Darmrohr 10 (Fig. 2) mit Mandrin (Einführhilfe, Obturator) 17, ein Strahlrohr 20 mit Ventil 21 und Anschluss-Schlauch 23, ein Spiegel 27 in Fig. 4 (vorzugsweise ein schwenkbarer vierfach Vergrößerungsspiegel mit 40cm-Brennweite und zwanzig Zentimeter Durchmesser und Standfuss), eine Lampe 28 mit zehn bis zwanzig Leuchtdioden mit neutralweissem Zehn-Grad-Lichtkegel zum Einsatz.

Der Exfecator kann von einem qualifizierten Helfer oder wie in folgendem Beispiel von einem nicht-gelähmten Erwachsenen ohne Helfer bedient werden.

Zur Vorbereitung ist der Schlauch 23 des Strahlrohres 20 am Wasserauslaufventil anzuschliessen und dafür zu sorgen, dass am geschlossenen Ventil 21 des Strahlrohres 20 etwa siebenunddreissig Grad Celsius warmes Wasser mit dem üblichen Leitungsdruck von drei bis zehn  bar ansteht.
Ein Druckminderer kann bei Bedarf eingesetzt werden.
Der stabförmige Exfecator-Mandrin 17 (Fig. 2) wird bis zum Tiefenanschlag 18 in das zylinderförmige Exfecator-Darmrohr 10 gesteckt und beides mit einem geeigneten Gleitmittel bestrichen.

Für Anwendung am Erwachsenen hat das Darmrohr 10 einen Aussen-Durchmesser von 25 bis 32 mm
bei 2 bis 3 mm Wandstärke, besteht aus einem Wasser-, Kot-, Gleitmittel-, Reinigungsmittel- und Desinfektionsmittel-beständigem Metall oder Kunststoff, ist geeignet für eine Einführtiefe ins Rectum von etwa 14 cm, hat abgerundete Kanten 11 und kann eine Einführtiefen-Begrenzung durch eine Verdickung oder einen Kragen 12 aufweisen.

Das Exfecator-Darmrohr 10 und der Exfecator-Mandrin 17 entsprechen in Form und Material einem
üblichen Proktoskop nach Kelly, unterscheiden sich jedoch in folgenden Punkten:
Proktoskope haben überwiegend eine maximale Einführtiefe von etwa acht Zentimeter,
das Exfecator-Darmrohr etwa vierzehn Zentimeter.
Drittgradig vergrößerte Hämorrhoidalpolster fallen vor die Öffnung des Proktoskopes,
das Exfecator-Darmrohr drückt sie zur Seite.
Proktoskope werden von Proktologen geführt und haben meist ein scharfkantiges Darmrohr,
um zusammen mit dem Proktoskop-Mandrin das Einführen ins Rectum zu erleichtern.
Scharfkantige Proktoskop-Darmrohre machen ein axiales Verschieben ohne eingesteckten Proktoskop-Mandrin unmöglich. Um die Verletzungsgefahr bei Anwendung durch medizinische Laien zu minimieren, und eine axiale Verschiebbarkeit ohne Mandrin zu ermöglichen,
sollte das Exfecator-Darmrohr 10 abgerundete Kanten 11 mit einem Millimeter Rundungsradius haben.
Die bei eingestecktem Exfecator-Mandrin 17 verbleibende Stufe wird mit Gleitmittel verschmiert und stört bei der praktischen Anwendung kaum.

Besonders zylinderförmige, nicht konusförmige Proktoskop-Darmrohre und Proktoskop-Mandrins bilden zusammengesteckt meist eine luftundurchlässige Einheit. Nach dem Einführen ins Rectum entsteht beim Herausziehen des Proktoskop-Mandrins im Rectum ein Unterdruck, der häufig Gewebe der Darmschleimhaut über die scharfe Proktoskop-Darmrohr-Kante in das Darmrohr saugt und dabei verletzt. Um dieses Problem beim Exfecator zu umgehen, wird ein Belüftungsspalt 19 (Fig. 2) von etwa einem
halben Millimeter Breite zwischen einem zylinderförmigen Exfecator-Darmrohr und -Mandrin freigelassen.

Proktoskop-Darmrohre müssen von Proktologen an einem stabilen, grossen Griff geführt werden, beim Exfecator-Darmrohr ist der Griff überflüssig und fehlt.    Stattdessen wird das Exfecator-Darmrohr 10 mit einer leichten, flexiblen Befestigung 13 (Fig. 1) am Körper des Anwenders locker fixiert, damit es nach dem Einführen ins Rectum nicht herausrutscht.
Als besonders hygienisch, preiswert und leicht zu handhaben wird hier die Ausführung der Darmrohr-Befestigung 13 in Form von zwei durch Darmrohr-Bohrungen gezogenen Drahtschlingen 14 und 15 (Fig. 2) aus Kunststoff-isoliertem Kupfer-Schaltdraht mit etwa zwei Millimeter Aussendurchmesser vorgeschlagen, wobei die erste Drahtschlinge 14 (Fig. 3) eine Länge von etwa 140 cm und die zweite Drahtschlinge 15 eine Länge von etwa 50 cm hat.

Das mit Gleitmittel bestrichene Exfecator-Darmrohr 10 mit eingestecktem Exfecator-Mandrin 17 wird stehend über der WC-Schüssel bei entblößtem Unterleib langsam in das Rectum eingeführt, die Drähte der längeren Schlinge 14 werden über den Rücken und beide Schultern geführt und vor dem Bauch mit der kürzeren Drahtschlinge 15 verbunden mittels Spiralfeder mit Haken, Karabinerhaken oder einfach durch Verdrillen 16 (Fig. 3).
Der Exfecator-Mandrin 17 wird langsam am Tiefenanschlag 18 herausgezogen und mit der verschmutzten Spitze in das Wasser des Wassereimers 29 gehängt.

Das nun fertig-installierte Darmrohr 10 (Fig. 1) wirkt während der etwa fünf Minuten der Exfecation wie eine Analkanal-Prothese und verhindert den Analprolaps,  schützt die Hämorrhoidenpolster 3, erlaubt den Blick ins Rectum zur visuellen Kontrolle, schafft Bewegungsfreiheit für Strahlrohr 20 und Wasserstrahl 25, ermöglicht den Abfluss von drucklosem Wasser 7 und zerkleinertem Kot 6 und kann bei Bedarf Dank seiner abgerundeten Kante 11 als Schaber für Kot eingesetzt werden, um mehr Kot in den Wirkungsbereich des Wasserstrahls 25 zu befördern.
Auch hat das Darmrohr die positive therapeutische Wirkung eines Anal-Dehners.

Der Spiegel 27 (Fig. 4) wird hinten auf die WC-Brille gestellt, und das Innere des Rectums 1 wird mittels Lampe 28 visuell kontrolliert.  
Normalerweise ist nur Kot zu sehen, so dass mit der Prall-Zerkleinerung begonnen werden kann.
Das Hauptproblem bei der Zerkleinerung von Kot im Rectum besteht darin, dass harte Kotballen 2 viel stabiler sind als die umgebende Darmschleimhaut 8, die erschlafft, mangeldurchblutet, verletzt, entzündet oder vernarbt sein kann.  Den Benutzern des Exfecators muss bewusst sein, dass ein Flüssigkeitsstrahl, dessen Aufprall-Energie zur Zerkleinerung von hartem Kot in akzeptabler Zeit geeignet ist, beim Auftreffen auf die Schleimhaut 8 innerhalb weniger Sekunden eine blutende Wunde erzeugt. 
Die Risiken bei der Arbeit mit dem Exfecator sind dennoch nicht höher einzuschätzen als beim Autofahren oder Hantieren mit gefährlichen Werkzeugen.

Normalerweise ist die Benutzung des  Exfecator-Strahlrohres  bei Anwendern mit durchschnittlich sensibler Rectum-Schleimhaut und durchschnittlichem Hörvermögen nach etwa fünfzig Anwendungen auch ohne visuelle Kontrolle unkritisch. Man fühlt die Strahlrichtung und die Strahlintensität und die Kotdicke bis zur Schleimhaut, und man hört an den Gurgelgeräuschen bei aktivem Wasserstrahl, ob man gegen das Darmrohr oder Kot strahlt. Bei eingeschränkter Schleimhaut-Sensibilität oder bei Querschnittslähmung ist die visuelle Kontrolle jedoch unerlässlich.
Die einfache visuelle Kontrolle mittels Spiegel 27 und Lampe 28 ist ohne weiteren technischen Aufwand
wie Spritzschutz und automatische Spiegelreinigung in einem üblichen WC-Raum nur bei deaktiviertem Wasserstrahl möglich, so dass Prall-Zerkleinerung und visuelle Kontrolle abwechselnd sequentiell erfolgen müssen.

Beispielhaft wird zur Führung des Wasserstrahls 25 ein vierzig Zentimeter langes Edelstahlrohr 20 (Fig.2) mit vier Millimeter Aussendurchmesser und zwei Millimeter Innendurchmesser ohne weitere Düse 24 verwendet. Das Strahlrohr 20 ist nach dreißig Zentimetern im Winkel von einhundertundfünf Grad abgebogen und ist über geeignete Verschraubungen befestigt an einem Ventil 21, bevorzugt an einem Halbzoll-Kugelhahn, der mit einem flexiblen Schlauch 23 zur Speisung verbunden ist.
Der abgebogene Teil des Strahlrohres 20 wird bei Nichtgebrauch (während der visuellen Kontrolle) auf
den Rand des Eimers 29 (Fig. 4) gehängt oder bei Gebrauch in das Darmrohr 10 (Fig.3) gesteckt.
Das Ventil 21 des Strahlrohres 20 (Fig. 3) befindet sich etwa zwanzig Zentimeter vor dem Schambein des auf der WC-Schüssel sitzenden Benutzers, so dass das Strahlrohr 20 bequem mit der linken Hand am Ventil geführt werden kann. Wird das Ventil relativ zum Körper nach oben oder links gezogen, ändert sich auch die Strahlrichtung des Wasserstrahls 25 im Darmrohr und im Rectum nach oben oder links
(relativ zum Strahlrohr in Horizontal-Lage wie während der visuellen Kontrolle).
Weitere Strahlwinkel-Veränderungen bei der Verwendung von beispielsweise direkt am Strahlaustritt 24 abgewinkelten Strahlrohren können herbeigeführt werden durch Drehung des Strahlrohres, wobei die Winkelstellung der Achse des Ventilhebels 22 den Drehwinkel des Strahlrohres anzeigt.
Durch Drehen des Ventilhebels 22 mit der rechten Hand wird das Ventil 21 geöffnet und der Wasserstrahl 25 aktiviert. Vorteilhaft für einen gleichmäßigen Materialabtrag ist eine Mäander-förmige Bewegung des Strahlrohres. 
Lenkt man den Wasserstrahl gegen die Innenwände des Darmrohres, fächert er sich auf  (9 in Fig. 1) und kann weder Kot zerkleinern noch Schleimhaut verletzen.  Durch diese Winkel-gesteuerte Abschwächung der Prall-Zerkleinerung spart man sich häufige Ventil-Bedienung.   Drucklose Flüssigkeit 7 und zerkleinerter Kot 6 fallen oder gleiten sofort schwerkraftbedingt durch das Darmrohr 10 in die WC-Schüssel. 
Nach etwa zwanzig Sekunden Strahlzeit wird das Ventil 21 wieder geschlossen und das Ergebnis mittels Spiegel 27 (Fig. 4) und Lampe 28 visuell kontrolliert.
Üblicherweise sind nach etwa achtzig Sekunden Gesamt-Strahlzeit einhundertundzwanzig Gramm Kot zerkleinert und entfernt.  Erkennt man bei der visuellen Kontrolle in einer Region des Strahlbereiches saubere Darmschleimhaut, ist diese Region bei der nächsten Bestrahlung auszusparen, oder die Benutzung des Exfecators ist zu beenden, das Darmrohr 10 zu entfernen und im Eimer 29 abzulegen, wo es später zusammen mit dem Mandrin 17 mittels Wasserstrahl 25 grob gereinigt werden kann
(wenige Zentimeter unter der Wasser-Oberfläche gegen Spritzen).

Das Rectum wird nicht vollständig von Kot befreit, sondern es verbleibt ein kleiner Rest bis zur nächsten Anwendung.  Da der Exfecator keine Unterstützung durch Darm-Peristaltik, ein pressendes Zwerchfell oder einen funktionsfähigen anorektalen Muskelring 4 benötigt, eignet er sich auch für Menschen mit schweren neuronalen Unterleibsschäden. 
Üblicherweise  muss der Exfecator bei normaler Ernährung ein- bis zweimal pro Tag benutzt werden, was jeweils einen Zeitaufwand von etwa fünfzehn Minuten inklusive Reinigung des Darmrohres und des Mandrins erfordert.

Die indirekte visuelle Kontrolle durch das Darmrohr kann über Spiegel 27 (Fig. 4) oder für die Benutzung  durch Querschnittsgelähmte über ein Kamera-Bildschirm-System erfolgen. Der Prototyp der Exfecator-Kamera besteht aus einer Mini-CCD-Kamera mit Makro-Tele-Objektiv, einem Ringlicht aus zwölf  neutralweissen Leuchtdioden mit Zehn-Grad-Lichtkegel, einem Strahlwasser-festem Gehäuse mit nur fünf Zentimeter Tiefe für die Verwendung innerhalb der WC-Schüssel und einem verstellbaren Haltewinkel, der zwischen WC-Schüssel-Rand und WC-Brille geklemmt wird.   Für eine gute Bildqualität sollte die visuelle Kontrolle bei deaktiviertem Wasserstrahl erfolgen.  Eine Schmutz-abweisende, mit Nano-Material beschichtete Frontscheibe der Kamera ist hilfreich.
Das Bild der Kamera kann bei transportablen Exfecator-Apparaten mit einer Video-Brille angezeigt werden an Stelle eines unhandlichen Monitors oder Laptop-PCs.
Für einen Exfecator, der ohne Druckwasserleitung funktionieren soll, wird die Speisung des Strahlrohres aus einem Kanister mittels Pumpe (ähnlich PKW-Scheiben-Waschanlage) oder mittels Pressluft-Handpumpe (ähnlich Gartenspritze) vorgeschlagen.

Die fünf wesentlichen Merkmale des Exfecators in Kurzform sind:
Das Darmrohr 10 schafft schonend Platz für das Strahlrohr 20, den Flüssigkeitsstrahl 25 und den Blick ins Rectum mittels Spiegel 27 oder Kamera. 
Das Strahlrohr 20, das relativ zum Darmrohr 10 beweglich ist und über Ventil 21 und Schlauch 23 verfügt, setzt einen lenkbaren Hochdruck-Flüssigkeitsstrahl 25 frei.
Der Flüssigkeitsstrahl 25 zerkleinert mit seiner Aufprall-Energie 26 den Kot 2 im Rectum 1.
Die Winkelstellung des Darmrohres 10 entfernt verbrauchte Strahlflüssigkeit 7 und zerkleinerten Kot 6 durch Schwerkraft aus dem Rectum 1.
Die Visualisierungskomponente kontrolliert die Arbeitsergebnisse und ermöglicht den effektiven und sicheren Einsatz von Strahlrohr 20, Flüssigkeitsstrahl 25 und Darmrohr 10.

Vorteile des Exfecators:  Erstmalig befriedigt der Exfecator das lange bestehende Bedürfnis jener Menschen, die unter Obstipation, Lähmungen oder Schäden am Kontinenzorgan leiden, alleine und schmerzfrei ihr Rectum von Kot jeder Konsistenz zu befreien, wobei der Exfecator kostengünstig hergestellt werden kann und in einem üblichen WC-Raum und mit geringem Zeitaufwand von medizinischen Laien erfolgreich benutzt werden kann.
Der Exfecator hat schon hundertmal bewiesen, dass er harten Kot (härter als Marzipan-Rohmasse) in wenigen Minuten entfernt, und dass er auch geeignet ist für flüssigen Kot bei gleichzeitig auftretenden Peristaltik-Krämpfen (ausgelöst durch verdorbene Nahrung oder Magen-Darm-Infektion).
Bei der natürlichen Defäkation findet kein Kontakt der Schleimhaut mit Luft (-Keimen), Chemikalien, Licht oder mechanischen Geräten statt; der Exfecator minimiert den schädlichen Einfluss dieser Dinge wie kein anderes Gerät.        Die im Darm verbleibenden Mengen an Gleitmittel und Wasser sind sehr gering. Sterilität ist unnötig.
Die Darm-Peristaltik (natürliche, wellenförmige Transportbewegung der längs- und quergestreiften unwillkürlichen Darm-Muskulatur) wird nicht behindert oder geschwächt.
Während das Exfecator-Darmrohr installiert ist, kann man schmerzfrei Husten, Niesen, Herumlaufen oder Harn absetzen.
Da der Analprolaps vom Exfecator verhindert wird, braucht das empfindliche prolapierte Gewebe nicht gereinigt und nicht reponiert werden. Analvenen-Thrombosen durch Blut-Stauung wegen verkrampftem Schliessmuskel treten nicht mehr auf.
Der Konsum von Kot-auflockernder Diät-Nahrung oder Abführmitteln ist unnötig.
Die Komponenten des Exfecators zur visuellen Kontrolle ermöglichen die Entdeckung von Mastdarm-Krebs im Frühstadium, denn die meisten Enddarm-Karzinome entstehen im Sichtbereich des Exfecators.
Die 15-minütige Mastdarm-Reinigung mit dem Exfecator (je 5 Minuten für Vorbereitung, Exfecation, Geräte-Reinigung) ein- bis zweimal täglich wird schnell zur Routine wie Zähne putzen, Haare waschen, Rasieren oder Duschen.
Beginnt ein leidender Mensch mit beispielsweise Hämorrhoiden dritten Grades, regelmäßigem Analprolaps mit Schleimhaut-Ablösung und Analfissur, den Exfecator zu benutzen, wird  Folgendes geschehen:
Die etwa 15-stündigen starken Schmerzen nach der Defäkation treten nicht mehr auf.
Anstatt sich nachts in Schonhaltungen zu winden, schläft der Mensch ab jetzt wieder durch.
Der brennende und stechende Dauerschmerz vermindert sich von Tag zu Tag.
Nach etwa einer Woche mit dem Exfecator tritt extremes Jucken im Analbereich auf;
die Mastdarm-Schleimhaut heilt und wächst wieder an.
Nach etwa zwei Wochen hat die Farbe der Schleimhaut von dunkelrot zu rosa gewechselt, die Schwellung und Instabilität der Schleimhaut ist verschwunden, die Wunden und Eiterherde in der Schleimhaut sind weg, die Schleimhaut ist robuster und zeigt wieder ihren natürlichen Faltenwurf, die Nachbar-Organe wie Beckenboden-Muskulatur, Haut um den Anus, Blase, Prostata  arbeiten wieder normal und schmerzfrei.
Nach etwa vier Wochen ist die Analfissur nicht mehr zu spüren, Wandern und Fahrradfahren macht wieder Spaß.
Nach etwa acht Wochen ist auch die üblicherweise mit einer Analfissur einhergehende kleine Hauttasche verschwunden, und die von den Essig- und Fruchtsäuren der früheren Kot-auflockernden Diät geschädigten Zähne erholen sich.
Bei den Menschen, deren Essverhalten früher von ihren Defäkationsproblemen beeinflusst wurde,
entwickelt sich normales Essverhalten.   Der Übergewichtige isst weniger, der Mangelernährte isst mehr.
Das Kontinenzorgan des Defäkationsbehinderten fühlt sich so gut an wie seit Jahren nicht mehr.     
Eine operative Sanierung des Kontinenzorgans wäre nun riskoärmer.

Nachteile des Exfecators:  Da in Europa eine Defäkations-Infrastruktur wie im Mittelalter vorherrscht, und da die üblichen WC-Kabinen in Firmen, Hotels, Flugzeugen oder Zügen weder über Druckwasseranschluss, Stromanschluss, Ablageflächen, ausreichende Beleuchtung, Belüftung, Hygiene, noch über genug Platz verfügen, wird der Exfecator-Einsatz hier zum Problem.      
Die zivilisierte asiatische und arabische Welt bietet eine bessere Infrastruktur.
Ein mobiler Exfecator im Koffer mit Tank, Pumpe und Akku wäre eine mögliche Lösung, um die Abhängigkeit des Defäkations-Behinderten von der nötigen Infrastruktur zu minimieren.
Die vergrößerten Hämorrhoidalpolster verkleinern sich trotz Exfecator-Anwendung nicht.
Eine einzige normale Defäkation ohne Exfecator führt zu Analprolaps, Schleimhaut-Ablösung und Analfissur; der wochenlange Heilungsprozess beginnt von vorne. 
Der Exfecator beseitigt nicht Leiden wie Obstipation, Mastdarm-Erschlaffung oder Querschnittslähmung;  
er erleichtert nur das Leben mit diesen Leiden und einem geschädigten Kontinenzorgan.

Für diejenigen leidenden Mitmenschen, die einen Exfecator unbedingt für private Zwecke und
auf eigenes Risiko selbst herstellen
und benutzen wollen, gibt es hier noch ein paar Tipps:
Der Exfecator ist bei falscher Anwendung gefährlich. Es kann zu Verletzungen kommen.
Ungeschickte Menschen schneiden sich auch beim Brötchenschmieren die Pulsadern auf.
Der Exfecator hilft nicht bei Hämorrhoiden vierten Grades, bei Analfisteln, bei schweren Abszessen, usw.!      Gehen Sie zum Arzt!   Schwangere sollten den Exfecator nicht einsetzen!
Das Darmrohr und der Mandrin können aus handelsüblichem Kunststoff-Halbzeug hergestellt werden (Polypropylen-Rohr aussen 32mm, innen 26mm, Polypropylen-Vollstab aussen 25mm).
Schnitzen, schleifen und polieren Sie eine sauber abgerundete Kante und glatte Oberfläche.
Führen Sie keinesfalls brüchige, scharfkantige oder hinterschnittene Darmrohre ins Rectum ein. 
Die Teile für das Strahlrohr gibt es im Sanitär-Fachhandel (Manometer-Verschraubungen, Heizöl-Druckleitungen). Als Strahlrohr-Schlauch tut es ein Druckluft-Schlauch.
Die Qualität des Gleitmittels ist extrem wichtig. Das Gleitmittel muss Wasser-löslich sein, sollte deshalb Glycerin enthalten, um die Reinigung von Anus, Hand und Exfecator zu erleichtern, und um von der Analhaut schnell absorbiert zu werden, damit die verminderte Reibung im Analkanal nicht stundenlang einen Analprolaps begünstigt.
Vergessen Sie alle Gleitmittel auf Fettbasis und Waterglide aus dem Sex-Shop.
Sehr geeignet, aber seit Mai 2009 leider nicht mehr lieferbar ist rilanja body soft pflegecreme von Schlecker.    Alternativ verwendbar sind andere stark Glycerin-haltige Soft-Cremes oder Body-Lotions.
Zur Heilungsbeschleunigung bei Analfissuren ist mastu akut (alte Rezeptur mit Bufexamac) als Creme
(nicht Zäpfchen)  nur zur kurzfristigen Anwendung geeignet und auch Calendula Babycreme von Weleda.
Einen guten Beitrag zur Stabilisierung der Darmtätigkeit und zur Geruchsreduzierung liefert Milchzucker-Pulver aus der Drogerie.  Mit einem halben gestrichenen Teelöffel im Joghurt vorsichtig beginnen.
Ein Festessen genießt man mehr, wenn man vorher exfecaliert.
Das Strahlwasser des Exfecators muss hygienisch Trinkwasser-Qualität haben. Verwenden Sie kein abgestandenes oder gechlortes Wasser und kein Wasser aus Privatbrunnen.
Notfalls Mineralwasser aus der Flasche.
Falls Sie den LED-Spot mit 230V betreiben, halten Sie Ihn trocken! Sonst Lebensgefahr!
Nutzen Sie einen 30mA-FI-Schutzschalter.
Zielen Sie beim Einführen des Exfecator-Darmrohres bevorzugt nach hinten, Richtung Steiss.
Normalerweise sieht die gesunde Mastdarm-Schleimhaut so ähnlich aus wie die gesunde Mundschleimhaut. Falls Sie wenige Tage vor dem ersten Exfecator-Einsatz Analprolaps mit Schleimhaut-Ablösung hatten,
wird der erste Anblick der Schleimhaut durch das Darmrohr möglicherweise eine Ohnmacht auslösen. Erdrosseln Sie sich nicht mit den Exfecator-Haltedrähten. Bitten Sie um Hilfsperson.
Rechnen Sie mit einem höchst unerfreulichen Anblick in Form von starker Rötung, Eiterherden und Blutungen. In diesem abgelösten Zustand ist die Schleimhaut extrem instabil, verletzungsempfindlich und erfordert vom Anfänger hohe Konzentration, häufige visuelle Kontrolle und reduzierten Wasserstrahldruck.
Strahlen Sie nicht auf die Schleimhaut!
Falls Sie durch das Darmrohr einen Polypen (Schleimhautzipfel ähnlich Zäpfchen im Mund) sehen, dessen Kopf sich im Aussehen von der Schleimhaut unterscheidet, gehen Sie zum Arzt!
Möglicherweise beginnender Mastdarm-Krebs! Kleine ambulante Operation rettet Leben.
Schicken Sie bitte einen kurzen Erfahrungsbericht an die Email-Adresse im Impressum.
Persönliche Daten werden selbstverständlich vertraulich behandelt.


ExfecatorComicFenster


          Copyright 2009-2014  www.exfecator.de